Apple работает над оптической клавиатурой для MacBook
- 02 декабря 2019 18:40
- Артем Багдасаров, журналист «Ридуса», отдел «Наука и технологии»
Одной из главных проблем последних MacBook была ненадежная клавиатура, использовавшая механизм «Бабочка» — со временем она забивалась пылью и выходила из строя. И хотя Apple вернула проверенный временем ножничный механизм в MacBook Pro 16, компания работает над новой технологией, которая избавит пользователей от волнений.
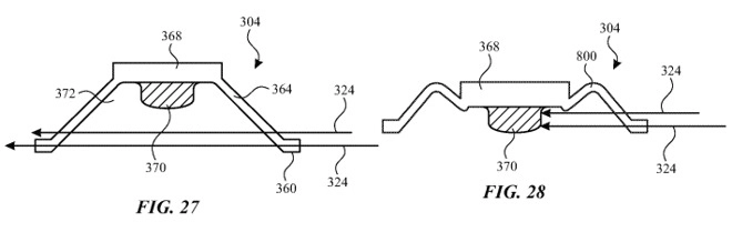
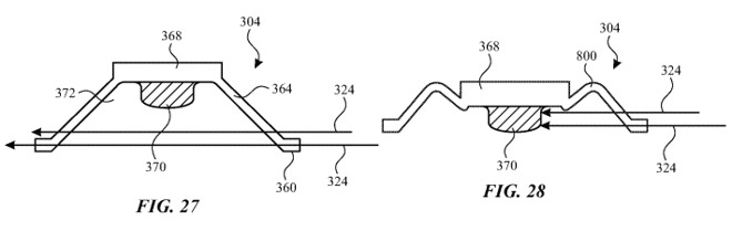
Летом представители Apple зарегистрировали патент, в котором описан принцип работы оптической клавиатуры для MacBook. В отличии от традиционной ножничной клавиатуры, в ней нажатие регистрируется не по давлению, а по прерыванию светового луча.
Поскольку в такой клавиатуре нет механического воздействия компонентов друг на друга, она должна быть максимально надежной. На прошлой неделе Apple продлила действие патента, так что работы в этом направлении могут продолжаться.
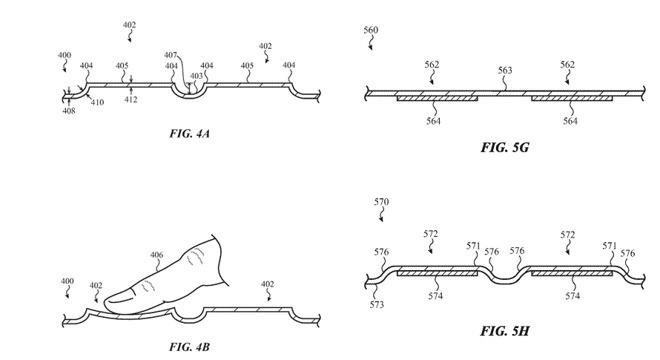
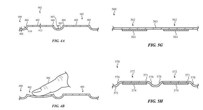
Это не единственная любопытная разработка компании, касающаяся клавиатур в ноутбуках. В конце января Apple запатентовала клавиатуру, верхняя часть которой выполнена из цельного слоя стекла с выступами под клавиши. Ниже расположен экран, который отображает раскладку клавиатуры.
Отсутствие зазоров и механических элементов должно существенно повысить надежность. Когда пользователь нажимает клавишу, система определяет силу нажатия и дает тактильный отклик, сравнимый с тем, что получаешь от классической клавиатуры.
Apple уже использует такой метод в тачпадах последних MacBook — они оснащены технологиями Force Touch и Taptic Engine, имитирующими механическое нажатие.
Четкие границы между клавишами и обратная связь сделают клавиатуру такой же удобной, как традиционные решения. При этом локализация для разных рынков станет проще, поскольку раскладка отображается на дисплее под стеклом и может легко меняться.
Также вся стеклянная область будет работать как большой тачпад — пользователь сможет водить пальцем поверх клавиш и передвигать курсор.
А какую технологию вы бы хотели видеть в ноутбуках? Делитесь своим мнением в комментариях.
- Телеграм
- Дзен
- Подписывайтесь на наши каналы и первыми узнавайте о главных новостях и важнейших событиях дня.


Войти через социальные сети: