«Машины-роботы»: компания Tesla изобрела лазерные стеклоочистители
- 09 сентября 2021 14:39
- Вениамин Ветролесов
Американская компания по производству автомобилей Tesla придумала новый способ использования лазеров — в качестве стеклоочистителей для машин.
Tesla пыталась добиться регистрации патента с 2018 года, и наконец ей это удалось. Во вторник Бюро по товарным знакам США официально выдало компании патент на невероятный способ очистки лобового стекла.
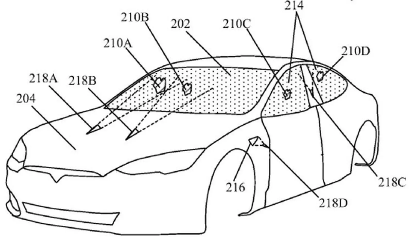
Как написано в патенте, совокупность особых излучателей должна эффективно удалять загрязнения с отдельных областей лобового стекла. Для этого инженеры использовали направленные импульсы лазерного излучения.
Уровень воздействия облучения регулируется на основе пульсации лазерного луча с откалиброванной скоростью, которая ограничивает проникновение луча на определенную глубину. Это означает, что лазер будет эффективно удалять только мусор, не повреждая стекло.
Речь идет не только о лобовом стекле: Tesla предлагает использовать свою лазерную систему как для очистки всех стеклянных поверхностей автомобиля, так и на солнечных панелях, и в любых сферах энергетики вообще.
Тот факт, что компания по производству электромобилей получила патент, не означает, что лазеры появятся уже в следующем автомобиле Tesla. Изобретение пока что не рассчитано на массовое производство, однако это не единственное устройство, которое придумали инженеры компании.
Кроме технологии лазерной очистки, Tesla также разрабатывает новые электромагнитные дворники, которые выглядят футуристично, но гораздо более реалистичны и просты в производстве.
Не исключено, что задержка выпуска электромобиля Cybertruck вызвана получением патента на новые лазерные стеклоочистители. Теперь Cybertruck будет готов к производству лишь в конце 2022 года.
Кроме того, еще один новый автомобиль от Tesla под названием Roadster также будет готов позже запланированной даты выпуска.
Задержки в выпуске электромобилей могут быть вызваны желанием применить новые изобретения в производстве. Скорее всего, сперва компания протестирует электромагнитные стеклоочистители, а затем встроит в конструкцию машин лазерные.
Ввиду непрерывной разработки новых изобретений, сооснователь и генеральный директор компании Илон Маск назвал автомобили Tesla «роботами» из-за многочисленных инноваций, которые используются при конструировании машин.
Маск презентует невероятные изобретения не только в области автомобильной промышленности. Недавно он сообщил, что Tesla разрабатывает настоящих гуманоидных роботов.
- Телеграм
- Дзен
- Подписывайтесь на наши каналы и первыми узнавайте о главных новостях и важнейших событиях дня.


Войти через социальные сети: