Кого назвали серым кардиналом американского танкостроения
- 28 мая 2020 05:59
- warspot
«Танковая» история США в массовом сознании выглядит довольно странно. Например, самым известным американским танковым асом является Крейтон Абрамс, но при этом есть мало кому известные американские танкисты, у которых на боевом счету больше уничтоженных немецких танков и САУ.
Ещё более необычно выглядит ситуация с американскими конструкторами бронетанковой техники. На фоне советских конструкторов их американские коллеги похожи на каких-то людей-невидимок. Из известных имён можно вспомнить разве что Джона Уолтера Кристи и Джозефа Колби, руководителя Танково-автомобильного центра в Детройте и одного из ключевых специалистов в программе американского танкостроения военного периода.
Между тем, имя человека, фактически создавшего облик американского танка военного периода, ничего не скажет даже многим специалистам. Оно и немудрено — Гарри Остин Нокс, которому 19 января исполнилось бы 145 лет, более известен как автомобилестроитель.
Вместе с тем этот человек был талантливым конструктором-танкостроителем, фактически державшим монополию на американские танковые шасси с 1935 до середины 40-х годов.
Автомобилист первой волны
Так исторически сложилось, что в танкостроение поначалу шли люди, занимавшиеся либо тракторами, либо автомобилями. Как раз ко второй категории и относился главный герой этой статьи. Гарри Остин Нокс состоялся как талантливый инженер-автомобилестроитель, причём он был в первой волне тех, кто создавал автомобили, превращая их из допотопных карет с моторчиком в доминирующее средство передвижения.
Родился Гарри Нокс 19 января 1875 года неподалёку от Вестфилда, штат Массачусетс. Джон Нокс, отец Гарри, был водопроводчиком, но сын пошёл по другому пути. К моменту, когда Нокс-младший поступил в технический институт в Спрингфилде, штат Массачусетс, Америку уже захлестнуло автомобилестроение.
Первый американский автомобиль с двигателем внутреннего сгорания был построен в 1891 году, а к 1894 году, когда Нокс окончил институт, уже имелось немало энтузиастов, пытавшихся заняться новым бизнесом. Среди них оказался и выпускник технического института в Спрингфилде.

Гарри Нокс (на пассажирском месте) и четырёхколёсный Overman Victor, 1897 год. Как и на дальнейших конструкциях Нокса, мотор находился под кузовом в передней части шасси
Поначалу Нокс не собирался заниматься автомобилем в целом. Его коньком являлись двигатели внутреннего сгорания, причем не только автомобильные. Первый четырёхцилиндровый двигатель Нокс построил в 1894 году, и уже вскоре случился первый успех. Молодому инженеру удалось договориться о сотрудничестве с Overman Wheel Company (Чикопи-Фоллс, штат Массачусетс).
Идея была проста: в линейке велосипедов Victor была трёхколёсная модель, как раз на неё и ставился мотор Нокса. В дальнейшем Overman Wheel Company попробовала и четырёхколёсную модель. Увы, производитель велосипедов стал одной из жертв экономического спада, случившегося в 1896 году.
Следующий год Overman Wheel Company встретил с огромными убытками, что привело к банкротству. В дальнейшем Альберт Оверман попытался заняться автомобилестроением, но без особого успеха, да и их пути с Ноксом уже разошлись.

Патент на двигатель Гарри Нокса. Подобные, горизонтально расположенные моторы стояли на ранних машинах Knox Automobile Company
Понимая, что у Overman Wheel Company дела идут скверно, Нокс решил рискнуть. В 1898 году он организовал в Спрингфилде собственную фирму Knox Automobile Company, имея уставной капитал 50 000 долларов США. К тому моменту у него были не только средства, но и опыт для подобных дел. Не менее важно, что имелось и удачное техническое решение (кстати, Нокс не забывал патентовать свои изобретения, что во многом позволяет понять всю величину его инженерного гения).
Благодаря патентам можно понять, что же именно создал Гарри Нокс — особенно это касается периода, когда он переключился на бронетанковую технику. К 1898 году Нокс придумал довольно простой и удачный двигатель внутреннего сгорания. Вместо громоздкого четырёхцилиндрового мотора детище Нокса имело всего один цилиндр. Изюминка была в системе охлаждения: в блок вворачивались ряды стержней, которые выполняли функцию радиаторов. При этом мотор выглядел похожим на дикобраза (и действительно получил прозвище «дикобраз»), зато происходило эффективное охлаждение. Именно такой мотор и пошёл в дело с самого первого автомобиля новой марки Knox.

Типичный Knox первых лет существования фирмы. В данном случае это развозной фургончик 1901 года выпуска — уже тогда Гарри делал первые попытки выйти на рынок коммерческого транспорта
Первые автомобили собственной конструкции Нокс построил в 1899 году. Строились они поначалу в помещении Elektron Company, здание которой находилось по соседству с Технологическим институтом. Позже Нокс купил здание по соседству, где и разместилась Knox Automobile Company. Первые машины марки Knox были трёхколёсными. Одноцилиндровый трёхсильный моторчик разгонял автомобиль до вполне приличных на тот момент 48 км/ч. Первые три машины 1899 года стали «пробным шаром»: уже в 1900 году удалось построить 53 машины, дела шли в гору. В 1902 году Нокс перешёл на четырёхколёсные автомобили — впрочем, общая концепция машины осталась прежней. Кузов крепился сверху шасси, при этом мотор размещался не в кузове, а под ним. Машина имела цепной привод на заднюю ось и двухскоростную планетарную КПП. Автомобиль получился надёжный, простой и весьма дешёвый. В 1901 году цена на двухместную машину составляла 750 долларов США, ещё 100 требовалось заплатить за съёмный верх — весьма и весьма демократичная цена для того времени.
В 1901 году Нокс впервые пошёл на эксперимент, прощупывая рынок коммерческих автомобилей. Он построил развозной фургончик — впрочем, трёхколёсное шасси уже было тормозом для развития, поэтому в 1902 году автомобили марки Knox стали четырёхколёсными. Бизнес расширялся: за 1902 год удалось продать уже около 500 автомобилей. Расширился и ассортимент продукции: помимо десятисильного одноцилиндрового мотора появился и двухцилиндровый двигатель. Ещё одной слагаемой успеха стало участие Нокса в соревнованиях: осенью 1902 года он на автомобиле Knox Model R выиграл гонку по маршруту Нью-Йорк-Бостон-Нью-Йорк. К слову, этот автомобиль сохранился до наших дней. В то время автомобили были уже условно четырёхместными: впереди располагался не капот, а дополнительное раскладное место для двух человек.

«Безводные» моторы были коньком фирмы Knox. Впрочем, вскоре после ухода основателя марки Knox быстро перешла на двигатели водяного охлаждения
Дела шли хорошо, но при этом сам Нокс всё пристальнее смотрел в сторону коммерческих автомобилей. По этой причине с 1903 года в ассортименте продукции Knox появляются грузовые машины. В то время вовсю шёл переход на моторы с водяным охлаждением, но Нокс продолжал отстаивать преимущества воздушного охлаждения. На типе мотора делала акцент и реклама — машины именовались как Waterless Knox. Ситуация начала понемногу меняться, когда в 1904 году Нокс покинул собственную компанию. Он решил сконцентрироваться на грузовиках. А на автомобилях марки Knox стали появляться сначала четырёхцилиндровые моторы (а вместе с ними и капот), а затем и моторы с водяным охлаждением. Автомобили марки Knox продолжали участвовать в гонках, становились всё более престижными, что в итоге и погубило марку. В 1914 году выпуск легковых машин Knox прекратился.
Ставка на грузовики
Как уже говорилось выше, грузовые автомобили всё больше входили в сферу интересов Гарри Нокса. Судя по всему, именно это стало причиной разногласий конструктора и его партнёров по бизнесу, считавших, что надо развивать гамму легковых машин, причём постепенно уходить в сегмент престижных автомобилей. Так думали многие, что позже и перегрело рынок. В 1908 году появился Ford T, который сначала не восприняли как угрозу, но потом Генри Форд, поставивший именно на дешёвый и простой автомобиль, так сказать, «снял кассу». Вместе с тем, сегмент коммерческих автомобилей был вполне свободен, при этом имелся спрос. Пока легковые автомобили заменяли лёгкие конные экипажи, грузовики сменяли лошадей, но куда меньшими темпами.
В 1904 году Нокс основал в Спрингфилде новую фирму — Knox Motor Truck Company. Её коньком стали коммерческие автомобили, но при этом Нокс собирался строить и легковые машины. Тут его бывшие компаньоны выступили резко против, поэтому в 1907 году появилась ещё одна марка — Atlas Motor Company. Подобно Knox, она постепенно смещалась в сторону престижных автомобилей, а в 1909 году машина этой марки вышла на старт Кубка Вандербильта, за рулём был Элмер Нокс. Впрочем, с легковыми автомобилями дела у Нокса не заладились, и в 1913 году Atlas Motor Company закрылась. Позже, с 1913 по 1915 годы, существовала Lyons-Atlas Company, которая выпускала задние мосты для машин и другие агрегаты.
У грузовиков Нокса дела шли совсем иначе. В 1905 году Knox построила первые пожарные машины, расширялся ассортимент коммерческих машин. При этом Гарри Нокс в начале 10-х годов вошёл в прямую конкуренцию со своим будущим визави на ниве танкостроения — Джоном Уолтером Кристи. Кристи тоже увлекался автогонками, но его карьера чуть не закончилась гибелью, легковые автомобили не задались, зато вполне успешным стал бизнес по постройке своеобразных «мотоблоков» для моторизации пожарного оборудования, которое ранее возилось лошадьми.

Knox Martin Tractor Model 31 по прозвищу «Змея» — удачный тягач, весьма популярный на американском рынке того времени
В 1911 году у продукции Кристи появился опасный конкурент. Им стал тягач Knox Martin Tractor Model 31 — трёхколёсная машина, немного странная на вид, но при этом имевшая коммерческий успех. Она использовалась как седельный тягач, причём «впрягалась» и в специально разработанные полуприцепы, и в те, что раньше возились лошадьми. Knox Martin Tractor Model 31 имели широкий спектр использования, ими оборудовалась и пожарная техника, и лесовозы. 45-сильный тягач, за выдающиеся качества манёвренности получивший прозвище «Змея», стал хорошим подспорьем для фирмы Нокса и большой проблемой для Кристи.
В 1915 году появился принципиально новый тягач — Knox Model 35. Машина была уже четырёхколёсной, при этом сзади были сдвоенные колёса. 7-литровый мотор развивал мощность от 40 до 60 л. с., при этом грузоподъемность составляла 10 т. На самом деле это была лишь номинальная грузоподъёмность — фактически Knox Model 35 мог тащить до 40 т. В это время уже бушевала Первая мировая война, и машину очень быстро заметили военные — прежде всего, французы, испытывавшие нехватку артиллерийских тягачей. Впрочем, очень быстро для тягача нашлась и другая работа — таскать гусеничную технику, включая танки. Заинтересовались ими и американские военные, которые быстро нашли с Ноксом общий язык. В 1918 году Нокс продал все свои активы и начал работать на американский Департамент вооружений. Как раз в это время у Knox Motor Truck Company начался спад, который усугубился в первой половине 20-х годов. Фирма закрылась в 1924 году — как раз с этого момента начинается восход Нокса как танкостроителя.
Альтернатива Кристи
Поначалу Нокс, который поступил на военную службу, занимался тем, что знал лучше всего — автомобильной техникой. Надо сказать, что американские военные в то время хотели получить и собственные грузовики, включая полноприводные. Как раз на первую половину 20-х годов пришлись различные работы по данному направлению. В это время на Департамент вооружений работало немало конструкторов — например, Артур Херрингтон, тот самый, что позже основал знаменитую Marmon-Herrington. Впрочем, к середине 20-х ситуация постепенно менялась. Во-первых, снижение заказов после войны привело к стагнации целого ряда программ. Во-вторых, автопроизводители смогли «задушить» программу разработки армейских грузовиков, после чего тот же Херрингтон ушёл на вольные хлеба. Наконец, в 1924 году у Нокса, которому уже почти стукнуло 50 лет, появилось совершенно новое направление в деятельности — танкостроение.

Патент на подвеску для танка, 1925 год. Вероятнее всего, именно так первоначально выглядел Light Tank T1
К тому моменту, когда Нокс занялся танкостроением, ситуация по этому направлению в США выглядела, мягко говоря, сложно. Если же говорить откровенно, то описать происходившее можно тремя словами — «всё очень плохо». Тот самый Кристи, с которым в 1924 году разругался генерал-майор Кларенс Вильямс (глава Департамента вооружений с 1918 по 1930 год), далеко не во всех случаях был «виновником» неудач. С 1917 по 1924 год он создал почти два десятка типов танков и самоходных артиллерийских установок. Некоторые из них выглядели вполне удачными образцами, явно превосходя аналоги — как зарубежные, так и те, что разрабатывались в США. Другой вопрос, что сами американские военные часто не знали, чего хотели. Самое же главное, что Кристи при всей своей вспыльчивости и мантре «я знаю лучше, что вам надо», создавал боевые машины, которые оказывались лучше, чем те, что разрабатывали другие конструкторы. На большинство образцов, создававшихся другими фирмами, было трудно смотреть без слёз. В итоге лучшее, что смогла сделать американская промышленность — это запустить в серию лицензионную копию Renault FT(известен как 6-тонный танк M1917). Всего изготовили 952 машины данного типа, они на долгое время стали основой американских танковых сил. Попытки создать более скоростной вариант M1917 ни к чему хорошему не привели. Кроме того, имелась сотня тяжёлых танков Mark VIII International, выпускавшихся по английскому заказу.
Попытки создать альтернативу танку Christie M1919 американские военные начали ещё в 1919 году. Тогда возникла идея разработать американский аналог Medium Tank Mk. D — детища английского конструктора Филипа Джонсона, которое на тот момент выглядело весьма перспективно. Шутка ли, машина развивала максимальную скорость 30 км/ч — больше, чем танк Кристи на колёсном ходу. На сей раз работы по танку решили не отдавать на сторону, а запустить разработку самостоятельно — силами Технического департамента танкового корпуса, организованного в арсенале Рок-Айленд. Так на свет появился Medium Tank M1921 — первая боевая машина, разработанная непосредственно американскими военными. Строили танк также силами арсенала Рок-Айленд. Впрочем, машина получилась с массой врожденных недостатков, а ее разработка затянулась. При этом программа разработки среднего танка оттягивала на себя основные силы, а американские военные хотели получить и новый лёгкий танк. В столь непростой обстановке и началась карьера Гарри Нокса как танкостроителя.
Работая на Департамент вооружений, Нокс не забывал патентовать свои разработки, но с одной оговоркой: каждое описание патента начиналось со слов «изобретение может быть использовано Правительством безо всяких платежей или роялти для меня». Так начиналось любое изобретение, которое патентовалось людьми, работавшими на Департамент вооружений. Судя по сохранившимся патентам, первоначально Нокс занимался подвеской гусеничных и полугусеничных тягачей, но осенью 1925 года подал заявку на подвеску танка. Как раз примерно в это время Технический департамент танкового корпуса активизировал работы над лёгким танком. Согласно исходной концепции, предполагалось создание танка классической компоновки, боевая масса которого составляла около 5 т, а экипаж состоял из двух человек. Как можно заметить, танк имел что-то общее с Medium Tank M1921, что неудивительно.
Официально работы стартовали в феврале 1926 года, а в марте началась разработка среднего танка, который должен был иметь боевую массу около 15 т. Центром разработки арсенал Рок-Айленд был недолго: 1 сентября 1926 года Технический департамент танкового корпуса перевели в Форт-Мид, штат Мэриленд, где размещался танковый департамент. Примерно в это же время к работе подключился Консультативный комитет по вооружениям, входивший в SOE (Ассоциацию автомобильных инженеров). SOE надо выделить отдельно: эта ассоциация появилась в 1905 году, с каждым годом росла, и именно она стала базисом для той стремительной программы перевода на военные рельсы, которую реализовали в США в первые годы Второй мировой войны.

Первый опытный образец Light Tank T1. В заметке от 1928 года эта машина именовалась как Light Tank M1, но продержалось это обозначение очень недолго
По итогам обсуждения концепции нового лёгкого танка, который получил обозначение Light Tank T1, Департамент вооружений и SOE пришли к выводу, что более выгодной является размещение боевого отделения в кормовой части корпуса. На тот момент уже имелись примеры положительных результатов такой компоновки — например, Medium Tank Mk. I и Medium Tank Mk. II. В результате 15 сентября 1926 года разработка лёгкого танка пошла по новому сценарию, и именно в этот момент Гарри Нокс фактически стал ведущим инженером машины. Параллельно была запущена программа специального самоходного стенда, оно же «самоходное гусеничное шасси T1», предназначавшееся для испытания различных типов траков. Второй самоходный стенд, он же «самоходное гусеничное шасси T2», предназначался для отработки подвески. Оба шасси имели переднее расположение мотора, при этом у T1 трансмиссия располагалась в носовой части, а у T2 — в кормовой.

Патент на Light Tank T1E3. Фактически это означает, что данный танк разработан Ноксом, а James Cunningham Son & Co — лишь подрядчик
Общая концепция Light Tank T1 сформировалась к середине марта 1927 года, тогда же появился подрядчик — James Cunningham Son & Co. 12 апреля с фирмой заключили контракт, а к 1 августа был построен первый опытный образец. Существует заблуждение, что Light Tank T1 — это детище James Cunningham Son & Co, что в корне неверно. На самом деле машина является разработкой Гарри Нокса, причём он её запатентовал. Это же касается и упомянутых гусеничных шасси, и подвески, и других элементов шасси.
Идеальной данная машина не была: механик-водитель сидел, едва ли не обхватив двигатель ногами, а обзорность оказалась недостаточной. Наводчик, он же командир, он же заряжающий, сидел на коробке передач. Да и сами танки семейства Light Tank T1 выглядели анахронизмами. Но одно дело выглядеть, а другое — фактическая сторона вопроса. Лёгкий танк M1917 требовал капремонта после 260 км, а на испытаниях Light Tank T1E1 преодолел за 57 дней 3232 км без серьёзных поломок. Максимальная скорость составляла 28 км/ч, а средняя скорость — 16 км/ч. Для второй половины 20-х годов результат феноменальный — ни один лёгкий танк из выпускавшихся в то время не мог похвастаться ничем подобным. Не стоит удивляться, что ещё до постройки Light Tank T1E1 по настоянию пехотного командования, а именно генерал-майора Роберта Аллена, стандартизировали под индексом Light Tank M1, но такое обозначение продержалось всего с 14 января по 30 марта 1928 года.
На фоне столь успешных испытаний Департамент вооружений вовсю пытался форсировать вопрос запуска Light Tank T1E1 в серию. На кону стоял контракт на выпуск 250 танков. И в этот момент Кристи нанёс ответный удар. 28 ноября 1928 года из Форт-Мида в испытательный пробег отправился Convertible Medium Tank M1928. Этот танк являлся тестовой платформой, которую разработала и построила U. S. Wheel Track Layer Corporation. Сам конструктор называл своё детище M.1940, намекая на то, что за такими танками будущее. Главной изюминкой танка стала независимая пружинная подвеска, ныне известная как свечная или подвеска Кристи. Благодаря авиационному мотору Liberty L-12 танк прошёл тот же маршрут, что незадолго до того преодолели Light Tank T1E1, но с куда большей средней скоростью — 45 км/ч. Максимальная скорость была и того выше — 68 км/ч на гусеницах и запредельные 112 км/ч на колёсах. Если Light Tank T1E1 требовали для перевозки на дальние дистанции грузовики, то детищу Кристи они не требовались. В сложившихся условиях вопрос о запуске Light Tank T1E1 отпал сам собой.

Совместные испытания в Форт-Беннинге наглядно показали преимущества танков Кристи, но это был лишь первый раунд борьбы
Начались работы над улучшенной версией танка, Light Tank T1E2, но эта машина уже была проблемной. Дело в том, что ходовая часть оказалась перегруженной. Как ни старался Нокс, но в данном случае Кристи его переиграл, причём сразу по двум направлениям. Как уже говорилось, с марта 1926 года началась работа по проектированию среднего танка — фактически данная машина, получившая обозначение Medium Tank T2, являлась увеличенной версией Light Tank T1. Поскольку приоритетом являлся лёгкий танк, работы по Medium Tank T2 начались в 1929 году, а построили его в конце 1930 года. Изготовителем являлась всё та же James Cunningham Son & Co. Машина боевой массой 14,2 т имела тот же мотор, что и танк Кристи, но немного дефорсированный.
Преимуществом T2 было более солидное бронирование и более мощное вооружение, но… Спустя считанные месяцы на испытание вышел Convertible Medium Tank M1931, на фоне которого T2 выглядел явным анахронизмом. Особенно это касалось ходовой части, которая не позволяла достигнуть даже проектной скорости 40 км/ч. Даже несмотря на мощнейшее противодействие со стороны Департамента вооружений и, прежде всего, капитана Джона Крисмеса (будущий генерал-майор, в годы войны — фактически главный конструктор американских танков), этот раунд Кристи выиграл. 25 марта 1931 года между U. S. Wheel Track Layer Corporation и Департаментом вооружений был подписан контракт на изготовление серии из пяти танков Christie M.1931. Спустя три месяца, 12 июня 1931 года, заказ расширили до семи машин. Впрочем, как показали дальнейшие события, это была победа в бою, но не во всём сражении.
Заслуженная монополия
Несмотря на победу, Кристи рано радовался. Во-первых, финансовый кризис сильно ударил по военному бюджету, так что о 250 танках можно было и не мечтать. Во-вторых, даже при наличии этого бюджета возникают огромные сомнения, что Кристи смог бы осилить такие заказы. Даже советская закупочная комиссия отмечала, что U. S. Wheel Track Layer Corporation способна на выполнение лишь штучных заказов. В-третьих, у Convertible Medium Tank T3 хватало недостатков. Это был двухместный танк, имевший крайне туманные возможности по модернизации. Да, испытаниями данных танков пехотное командование было довольно. Не меньше восторгов было и у кавалеристов: из семи танков Кристи четыре ушло в Форт-Нокс, где они получили обозначение Combat Car T1 (фактически броневик, так как танки кавалерии были не положены). В 1932 году пехотное командование сформулировало требование на улучшенный танк — Medium Tank T3E2. Эта машина уже была четырёхместной, с увеличенной башней и рядом других изменений. Вот только Кристи считал, что знает лучше американских военных, чего же им нужно. На этом он и погорел: 28 ноября 1932 года договор о поставке пяти танков на сумму 200 000 долларов получила фирма American LaFrance — кстати говоря, ещё один бывший конкурент Кристи на рынке пожарной техники.
Не дремал и Департамент вооружений. Там отлично помнили, что в 1924 году Кристи продал Департаменту вооружений все свои патенты за 100 000 долларов, причём в эту сумму включались и его будущие патенты. Как только выяснилось, что свечная подвеска хорошо работает, внутри Департамента вооружений сформировалось несколько команд, которые занимались разработками по типу Кристи. Как раз в начале 30-х стартовала конструкторская карьера Джозефа Колби, одного из ключевых специалистов в разработке американских танков. Тогда же непосредственно подвеской Кристи, точнее, вариацией на её тему, занялся Гладеон Барнс, ещё одна ключевая фигура в американском танкостроении. Вообще Барнс более известен как талантливый конструктор-артиллерист, но ещё в 1930 году он включился в работу над танками. Наконец, по новому направлению начал работать и Нокс.

А такой была концепция данного танка по изначальному варианту. О Combat Car быстро забыли как о страшном сне
В сентябре 1931 года на испытания вышел странный аппарат, поначалу получивший обозначение Armored Car T5. Впрочем, он быстро стал именоваться Combat Car T2. На самом деле это чудо конструкторской мысли, которое часто именуют «а ля Кристи», не имело к разработкам этого конструктора никакого отношения. Машина имела рессорную подвеску, лишь передние опорные катки имели некое подобие свечной подвески. Откровенно говоря, эта разработка не получилась с самого начала. Доработки Combat Car T2 длились два года, но в историю этот танк вошёл как худший из «гусеничных броневиков». Перспектив он не имел никаких, вчистую проиграв не только Кристи, но и Combat Car T4, который разрабатывался под руководством Гладеона Барнса. В дальнейшем именно Барнс, а не Кристи, стал главным визави Нокса.

Ещё один концепт подвески, на сей раз с английскими корнями. Его даже не стали доводить до стадии опытного образца
Параллельно с рессорной подвеской Нокс работал и над пружинной подвеской. Впрочем, она к Кристи не имела ровно никакого отношения, а её корни стоит искать за океаном. В то время одними из распространителей передовых технологий являлись англичане — прежде всего, это касалось Vickers-Armstrongs. Ситуация, сложившаяся во второй половине 20-х годов, привела к тому, что англичане активно работали на экспортный рынок. Как раз на экспортных танках была реализована «горизонтальная» подвеска, которую Томио Хара, творчески переосмыслив, позже использовал на японских танках нового поколения. Ту же подвеску пытался реализовать и Нокс, при этом, аналогично Хара, он использовал опорные катки довольно большого диаметра. Впрочем, данная идея быстро ушла в корзину, но Нокс не забыл её запатентовать.

Из серии «а что, так можно было?» Мало того, что была скопирована общая компоновка Vickers Mk. E, его подвеску ещё и запатентовали (!)
Совсем иначе ситуация развивалась с точки зрения копирования другой разработки — Vickers Mk. E. На момент создания это был лучший лёгкий танк в мире, который английские военные забраковали. Близорукость англичан наглядно продемонстрировала дальнейшая история этой машины — Vickers Mk. E и его зарубежные производные стали самыми массовыми предвоенными танками, а уровень влияния детища Джона Кардена и Вивиана Лойда на мировое танкостроение огромен. Самое прямое отношение этот танк имел и на американское танкостроение. В июле 1931 года один из Vickers Mk. E Type A прибыл на Абердинский полигон — так сказать, на осмотр. Англичане, которые предоставили танк для испытаний, даже не догадывались, какую оплошность совершили. Машина подверглась тщательному изучению, а её отдельные узлы и агрегаты американцы самым беспардонным образом скопировали. Более того, Нокс их запатентовал! Такой наглости англичане явно не ожидали.

Light Tank T1E4 — тупиковый с точки зрения программы T1, но большой шаг в нужном направлении для американского танкостроения
По результатам изучения английского танка американцы разработали собственную версию Vickers Mk. E. Называлась она Light Tank T1E4, за основу был взят один из Light Tank T1E1, который переделывали силами арсенала Рок-Айленд. Откровенно говоря, данный танк получился неудачным, дальнейшие его доработки особо не улучшили характеристики. Вместе с тем, эта боевая машина стала первым шагом в правильном направлении. Вместо одного человека в отделении управления разместилось два, причём помощнику механика-водителя позже выдали курсовой пулемёт. Обзорность была выше за счёт откидных смотровых лючков спереди и сбоку. В целом удачным было и компоновочное решение танка, оставалось только довести концепцию до совершенства. Весной 1933 года сверху ещё и «помогли»: согласно циркуляру Военного министерства, теперь боевая масса лёгкого танка не должна была превышать 6804 кг. Программу Light Tank T1 окончательно похоронили, но лишь затем, чтобы создать новую боевую машину.

Light Tank T2. Можно сказать, что это работа над ошибками, допущенными в ходе проектирования Light Tank T1E4
3 июня 1933 года была подготовлена спецификация на новый лёгкий танк. Боевая масса составляла 6300 кг, экипаж — 4 человека, максимальная скорость — 48 км/ч, броневая защита — от пуль винтовочного калибра, вооружение — два пулемёта Browning M1919 плюс один крупнокалиберный Browning M2HB. Одновременно делался лёгкий танк для пехоты и «броневик» для кавалерии. Танк для пехоты, получивший обозначение Light Tank T2, делался более консервативным, то есть с подвеской по типу Light Tank T1E4/T1E6. Также эта машина получала двухместную башню. В случае же с кавалерийским танком Combat Car T5 башен было две, но более важным моментом являлась подвеска. Новая разработка Гарри Нокса, известная как VVSS (Vertical volute spring suspension) разительно отличалась от того, что он разрабатывал ранее. Опорные катки довольно большого диаметра были блокированы по двое в тележки, при этом роль упругого элемента выполняла буферная пружина. Конструкция получилась компактной, подвеска имела большой ход, большую степень свободы имели и опорные катки.
Правильность идеи поставить на разные танки разную подвеску показали испытания. Технически оба танка, пехотный и кавалерийский, были очень похожи друг на друга. Зато скоростные данные получились разными. В то время как Light Tank T2 с таким же мотором не смог разогнаться быстрее 43,4 км/ч, Combat Car T5 развил максимальную скорость 68,8 км/ч. Таким образом, расчётные данные по скорости оказались превышены более чем на треть. Одним из недостатков Light Tank T2 оказалась та самая «английская» подвеска. Высказывались претензии и к конструкции трака (кстати говоря, его разработал Гладеон Барнс). Цельнометаллический трак имел «изюминку» в виде резинометаллического шарнира.

Combat Car T5 на испытаниях. Машина оказалась куда проворнее, чем Light Tank T2, оставалось только заменить траки
По итогам переделок, которые вносились в Combat Car T5 и Light Tank T2, сформировался облик типового американского танкового шасси. Это была боевая машина с задним расположением силовой установки и передним расположением трансмиссии. Силовая установка, как правило, представляла собой модификацию авиационного звездообразного двигателя, от неё к КПП шёл длинный вал. Ходовая часть была полностью разработана Ноксом.

Второе по важности изобретение Нокса — резинометаллический трак. В том или ином виде он до сих пор используется на танках
Это касалось и подвески, и катков, а в итоге и траков. Ещё в 1933 году Нокс создал удачную конструкцию резинометаллического трака, который имел боковины-соединители. Собственно говоря, концепция этого трака жива до сих пор: гусеничные ленты современных основных танков являются родственниками изобретения Нокса. Получившееся шасси оказалось простым и намного более дешёвым, чем система Кристи. При этом максимальная скорость Light Tank M2A1 и Combat Car M1 составляла 72 км/ч, это равноценно скорости БТ на колёсном ходу. После этого не стоит удивляться, что концепция танкового шасси, сформировавшаяся в 1935 году, оставалась типовой для американского танкостроения около десятилетия.

Всё, что мы видим на этом фото, сделано на шасси, которое в 1935 году создал Гарри Нокс. На базе этих довоенных танков были созданы боевые машины, составлявшие основу американских бронетанковых сил
С 1935 года Гарри Нокс получил фактическую монополию на танковые шасси. Нет, ни о каком лобби речи не идёт — так получилось, что конструктор, которому к тому моменту исполнилось 60 лет, создал оптимальную конструкцию. Попытки сделать альтернативу предпринимались не раз, но вот беда — у Нокса конструкция получалась лучше. У блокированной подвески оказался большой запас по ресурсу, а у концепции шасси — большой запас по росту. «Масштабирование» привело к созданию Medium Tank T5, от которого последовательно произошли сначала Medium Tank M2, потом Medium Tank M3, а затем Medium Tank M4. Эволюция лёгких шасси привела к созданию сначала Light Tank M3, а затем Light Tank M5. Даже Marmon-Herrington, которая поначалу экспериментировала с подвеской на своих танках, всё равно пришла к подвеске Нокса. Использовалась эта подвеска и на Heavy Tank M6.
Если суммарно посчитать, сколько танков и САУ было сделано на подвеске Нокса, то становится понятно, сколь значимой фигурой в мировом танкостроении является этот человек. Даже если суммарно собрать все танки и САУ, которые имели подвеску Кристи, они всё равно существенно отстают по численности от боевых машин, имевших подвеску Нокса. При этом есть существенная разница между этими двумя конструкторами. У Кристи всего один танк был серийным («целых» 7 штук), а под конец жизни он едва сводил концы с концами. Нокс же занимал важный пост в Департаменте вооружений и имел прямое отношение практически ко всем танкам с подвеской его конструкции. В отличие от Кристи, имя Нокса не гремело на страницах газет и журналов — он просто делал своё дело.
Разумеется, ничто не бывает вечным. К 1943 году становилось всё очевиднее, что подвеска VVSS подходит к пределу своих возможностей. Кроме того, американцы познакомились с торсионной подвеской. Её пытались разрабатывать ещё в 30-е годы, но тогда ничего не вышло. Теперь же имелись немецкий Pz.Kpfw.III и советский КВ-1. С конца 1942 года Гладеон Барнс продвигал новую подвеску, но и Нокс не сидел на месте. Ещё в 1942 году он начал разработку альтернативных вариантов подвески VVSS — первоначально они предназначались для быстроходных артиллерийских тягачей. Так на свет появилась «горизонтальная» подвеска HVSS (horizontal volute spring suspension): как понятно из названия, те же самые буферные пружины располагались уже горизонтально. Чего-то совсем нового Нокс не изобрёл: похожая система была на Hotchkiss H 35, да и первым её разработал английский конструктор Сидни Хорстман. Впрочем, финальный вариант подвески HVSS всё же был не копией, а вполне оригинальной разработкой.
В 1943 году на американских танках и САУ впервые появилась торсионная подвеска. Вместе с тем, поначалу торсионы приносили массу головной боли. А вот подвеска HVSS оказалась куда лучше. В начале 1944 года её установили на опытный образец Medium Tank T25, и она оказалась самой надёжной. Успешно прошли испытания данной подвески и на Medium Tank M4. По этой причине в конце марта 1944 года подвеска HVSS была одобрена для установки на все танки семейства M4. На танках семейства T26 всё же «дожали» торсионную подвеску, но на это понадобилось немало времени. А вот на танки семейства Medium Tank M4 подвеска HVSS ставилась до конца их производства.

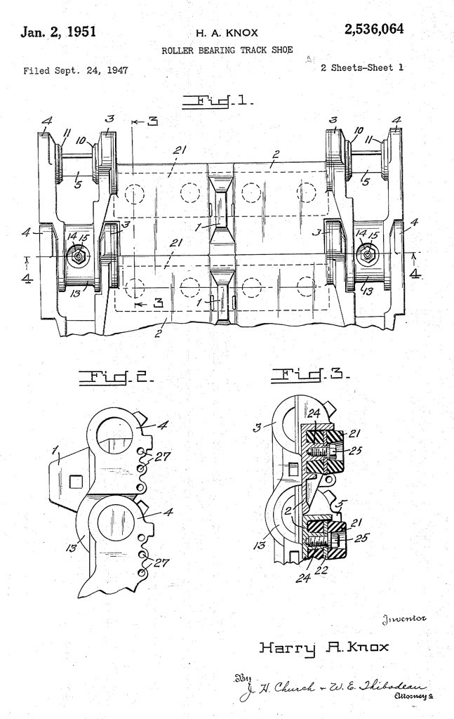
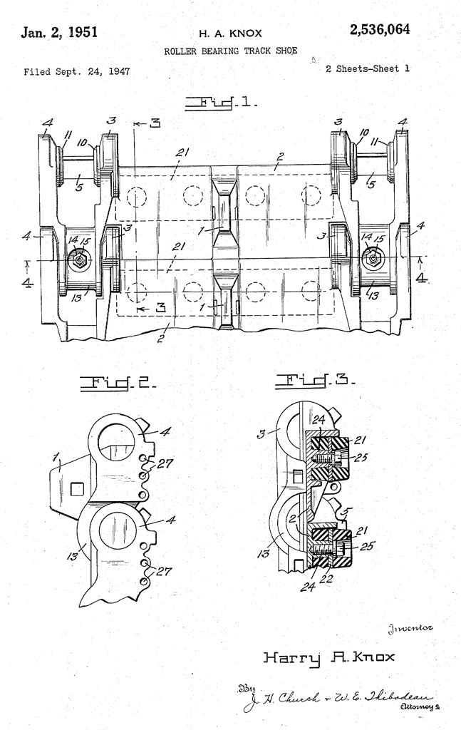
Самый поздний из известных патентов Гарри Нокса. Подобные траки долго использовались на американских танках
Звезда Нокса стала закатываться только к началу 1945 года. Тем не менее, он продолжал трудиться в Департаменте вооружений, создавая новые элементы ходовой части. Траки, разработанные им в последние годы работы на департамент, ещё долго использовались на американских танках и САУ. На покой Нокс ушёл только к концу 40-х годов в возрасте далеко за 70. В отличие от Барнса или Колби, до генеральского звания Нокс не дослужился, уйдя в отставку в звании полковника. Гарри Остин Нокс умер 2 июня 1957 года на 83-м году жизни. Его смерть не стала громким событием: в некрологе вспоминали лишь о его достижениях на ниве автомобилестроения. Огромный вклад Нокса в американское танкостроение до сих пор для большинства является тайной. По уровню влияния Нокс сравним с Генрихом Книпкампом — немецким конструктором, который около двадцати лет фактически определял концепцию шасси немецких танков.
- Телеграм
- Дзен
- Подписывайтесь на наши каналы и первыми узнавайте о главных новостях и важнейших событиях дня.










Войти через социальные сети: