+0
Сохранить Сохранено 7
×

Изобретен управляемый взглядом дрон


Изобретен управляемый взглядом дрон

© visualhunt.com

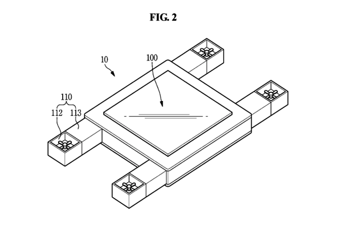
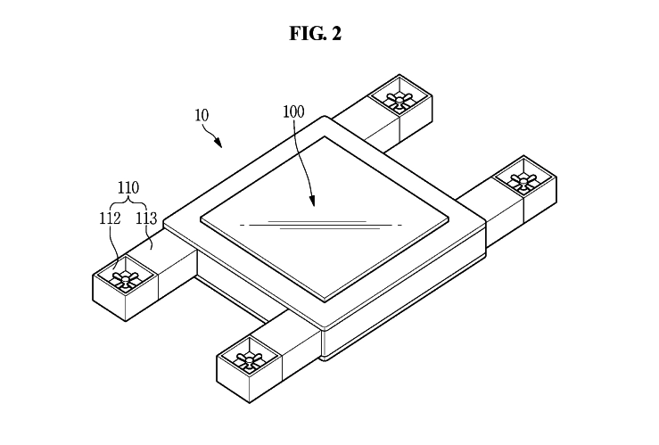
Инженеры южнокорейской корпорации Samsung разработали и запатентовали беспилотный дрон, которым можно управлять взглядом и движением рук. Кроме того, это устройство будет оснащено функцией распознавания голоса.

На дроне установлен большой экран, способный воспринимать команды по движению глаз, головы и рук оператора. Снабженный четырьмя пропеллерами беспилотник поворачивается, наклоняется и принимает практически вертикальное положение, перемещаясь вслед за взглядом оператора, который сможет регулировать скорость и направление полета.

Таким образом, это устройство представляет собой нечто вроде летающего телевизора, подчиняющегося воле управляющего им человека.

Дрон, оснащенный гироскопом, датчиком движения, акселерометром, GPS, Wi-Fi, видеокамерой и системой наблюдения, также сможет распознавать и избегать препятствия, возникающие на его пути, сообщает The Verge.

Ранее на видео сняли первый в мире пилотируемый полет дрона.

  • Телеграм
  • Дзен
  • Подписывайтесь на наши каналы и первыми узнавайте о главных новостях и важнейших событиях дня.

Нам важно ваше мнение!

+0

 

   

Комментарии (0)