DJI работает над ровером-вездеходом с камерой
- 24 декабря 2019 13:12
- Артем Багдасаров, журналист «Ридуса», отдел «Наука и технологии»
Один из лидеров на рынке коптеров, компания DJI, работает над продуктом, который принципиально отличается от ее прошлых разработок. Согласно новому патенту, следующий аппарат бренда может стать вездеходом, оборудованным камерой.
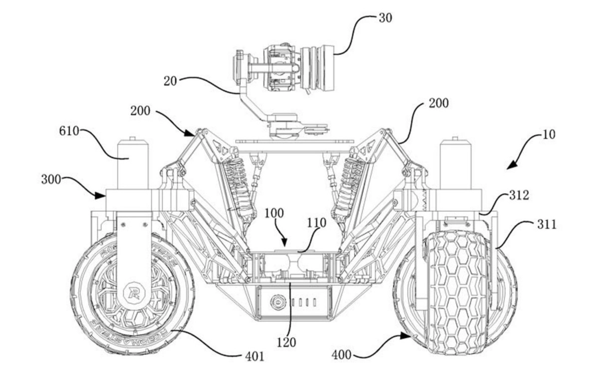
Документ с описанием такого устройства был обнаружен порталом DroneDJ. Судя по имеющейся в нем информации, дрон получит вседорожную подвеску, большие шины с протектором и камеру, которая будет задействоваться для дистанционного управления и съемки. Крепление камеры оборудовано амортизаторами, которые обеспечат стабилизацию при езде по неровной поверхности.
Предназначение такого дрона до конца не ясно. Возможно, DJI разрабатывает его для спасательных и военных целей — внешне аппарат напоминает робота-сапера. Также его могут применять в исследовательских миссиях и на производствах.
Впрочем, дрон может получить и гражданскую версию. Подобная рыночная ниша пока свободна, хотя оценить перспективы такого продукта тяжело.
Еще один вариант — использование дрона как платформы для испытаний новых технологий, например систем автопилота. В дальнейшем из него может получиться автономный ровер для доставки.
Последний сценарий кажется наиболее вероятным. Идею подрядить на доставку роботов уже вовсю тестируют другие технологические гиганты. Так, в прошлом месяце «Яндекс» представил беспилотный ровер, предназначенный для доставки мелких грузов в городской среде.
Ровер DJI тоже способен осуществлять доставку товаров, однако его можно применять на пересеченной местности. Впрочем, пока это все домыслы — компания никак не комментирует выложенный в Сеть патент.
Может быть, аппарат так и не получит физического воплощения, оставшись на страницах документа.
- Телеграм
- Дзен
- Подписывайтесь на наши каналы и первыми узнавайте о главных новостях и важнейших событиях дня.


Войти через социальные сети: