Apple запатентовала стеклянную клавиатуру для будущих Macbook
- 31 января 2019 17:20
- Артем Багдасаров, журналист «Ридуса», отдел «Наука и технологии»
Одной из главных проблем последних MacBook была ненадежная клавиатура, использовавшая механизм «Бабочка» — со временем она забивалась пылью и выходила из строя. И хотя Apple добавила защитную мембрану в MacBook Pro 2018, пока неясно, как она проявит себя в долгосрочном использовании. Впрочем, компания уже работает над новой технологией, которая избавит пользователей от волнений.
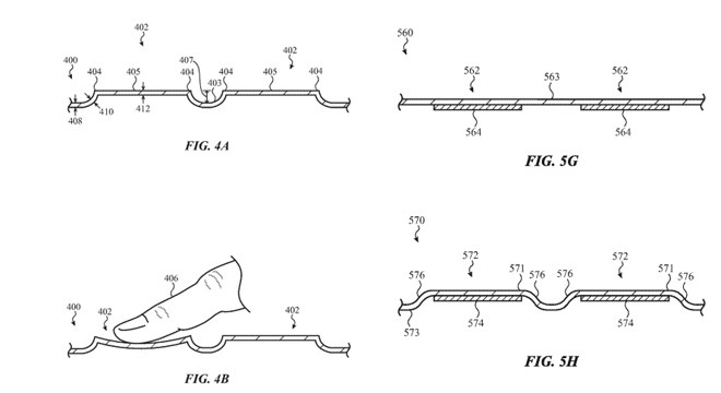
Сегодня Ведомство по патентам и товарным знакам США опубликовало документ, описывающий стеклянную клавиатуру Apple. Верхняя часть выполнена из цельного слоя стекла с выступами под клавиши. Ниже расположен экран, который отображает раскладку клавиатуры. Отсутствие зазоров и механических элементов должно существенно повысить надежность.
Когда пользователь нажимает клавишу, система определяет силу нажатия и дает тактильный отклик, сравнимый с тем, что получаешь от классической клавиатуры.
Apple уже использует такой метод в тачпадах последних MacBook — они оснащены технологиями Force Touch и Taptic Engine, имитирующими механическое нажатие.
Четкие границы между клавишами и обратная связь сделают клавиатуру такой же удобной, как традиционные решения. При этом локализация для разных рынков станет проще, поскольку раскладка отображается на дисплее под стеклом и может легко меняться.
Также вся стеклянная область будет работать как большой тачпад — пользователь сможет водить пальцем поверх клавиш и передвигать курсор.
Неизвестно, когда Apple реализует подобную технологию в коммерческом виде. Может случиться так, что она вообще не увидит свет, а компания просто нарабатывает варианты. Впрочем, учитывая эксперименты с тачбаром в последних MacBook Pro, можно предположить, что Apple хочет заменить привычную клавиатуру на что-то новое.
- Телеграм
- Дзен
- Подписывайтесь на наши каналы и первыми узнавайте о главных новостях и важнейших событиях дня.

Войти через социальные сети: